Vis à tête façonnée M5
Joint torique 28 X 2,5
Sonde de temp. pompe à...
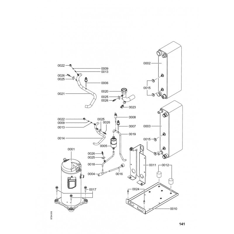
Vanne Schrader
Platine de base avec cache...
Platine d'extension avec...
Relais surveillance phase...
Platine (sondes ) CU401...
Réducteur d'intensité au...
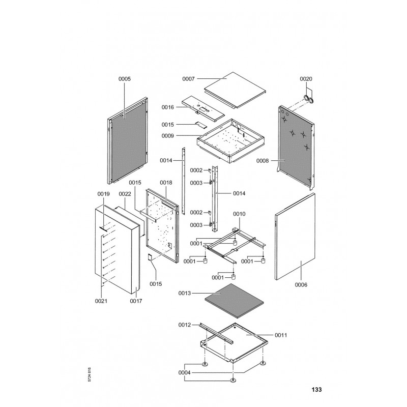
Tôle arrière
Tôle avant
Tôle de régulation
Tôle latérale droite
Tôle latérale gauche
Tôle supérieur arrière
Tôle supérieure avant
Joint A 30 x 44 x 2 (2 pièces)
Pressostat CC 80
Vanne de...
Robinet de purge d'air G 3/8"
Bombe aérosol de peinture,...
Amortisseur caoutchouc D 40...
Boîtier module de commande...
Borne d'alimentation...
Câble de liaison 4 pôles,...
Nappe de câbles AWG (module...
Capuchon d'étanchéité B 6
Charnière partie inférieure
Charnière supérieure
Compresseur ZH30 K4E-TFD
Condenseur B25TH x 46
Conduite collecteur eau...
Conduite de liaison BW gL
Conduite gaz aspirés
Conduite gaz brûlant
Conduite sèche soupape
Coude des conduites BW
Déshydrateur DML084
Détendeur électronique EXL B1G
Ecrou G1/4 pour vanne Schrader
Entretoise
Evaporateur B80H x 46
Faisceau de câbles EEV...
Faisceau de Câbles EEV module
Faisceau de câbles X5 très...
Fiche A Ressort - Référence...
Fixation compresseur
Flexible de départ BW
Flexible de retour
Flexibles BW chauffage
Flexibles BW entrée eau...
Flexibles BW réservoir
Flexibles BW sortie eau...
Electrovanne détendeur avec...
Kit plastron de câbles
Kit vis M8 à tête...
Matelas de base
Modul d'asservissement...
Passe-câble
Platine IU210-A10 H_1 S_14...
Rondelle entretoise
Silent bloc type D 42 x 40...
Support BW
Support échangeur
Support platine CU401
Support platine MB761
Unité Swissline
Transformateur - Référence...
Tube condenseur-fltre
Tube détendeur-évaporateur
Collier de sûreté d=28
Collier de fixation d=31-35 M8
Faisceau de câbles BW < 20 kW
Pied de calage M12 x 19...