Vis à tête façonnée M5
Relais thermique (13-18 A)
Joint torique 28 X 2,5
Sonde de temp. pompe à...
Vanne Schrader
Réducteur d'intensité au...
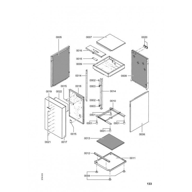
Tôle arrière
Tôle de régulation
Tôle latérale droite
Tôle latérale gauche
Tôle supérieur arrière
Tôle supérieure avant
Joint A 30 x 44 x 2 (2 pièces)
Pressostat CC 42
Sonde basse pression PT5-18T
Sonde haute pression PT5-50T
Vanne de...
Robinet de purge d'air G 3/8"
Bombe aérosol de peinture,...
Amortisseur caoutchouc D 40...
Boîtier module de commande...
Bornier de raccordement
Capuchon d'étanchéité B 6
Charnière partie inférieure
Charnière supérieure
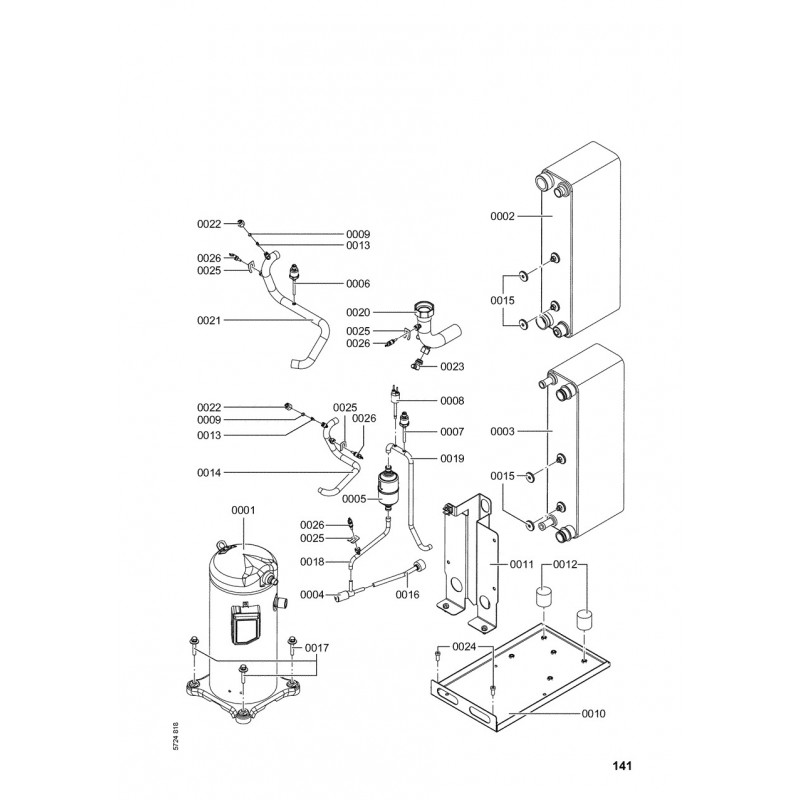
Compresseur ZP72 KCE 522
Condensateur B25TH x 76
Conduite collecteur eau...
Conduite de liaison BW gL
Conduite sèche soupape
Coude des conduites BW
Déshydrateur DML084
Détendeur électronique EXL B1G
Ecrou G1/4 pour vanne Schrader
Entretoise
Evaporateur B80H x 80
Faisceau de câbles EEV...
Faisceau de Câbles EEV module
Fiche A Ressort - Référence...
Fixation compresseur
Flexible de départ BW
Flexible de retour
Flexibles BW chauffage
Flexibles BW entrée eau...
Flexibles BW réservoir
Flexibles BW sortie eau...
Electrovanne détendeur avec...
Kit plastron de câbles
Kit vis M8 à tête...
Logo Vitocal 300
Matelas de base
Passe-câble
Platine IU210-A10 H_1 S_14...
Rondelle entretoise
Silent bloc type D 42 x 40...
Support BW
Support échangeur
Transformateur - Référence...
Tube condenseur-fltre
Tube détendeur-évaporateur
Collier de sûreté d=28
Collier de fixation d=31-35 M8
Pied de calage M12 x 19...