Brosse de nettoyage 90x100 mm
Doigt de gant G 1-2 x 150...
Pochette matelas de Fiberfrax
Kit verre de viseur -...
Couvercle A3
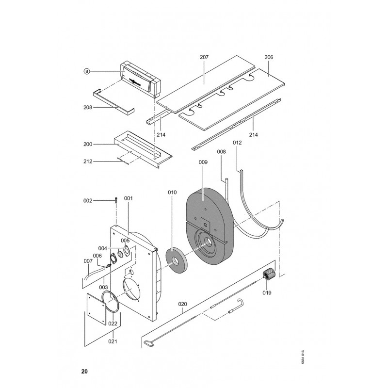
Tôle arrière haut
Tôle avant bas
Joint 50 x 74 x 1,5 (1 pièce)
Joint DN 65 PN 6 (1 pièce)
Bombe aérosol de peinture,...
Accessoires verre de viseur...
Bloc calorifuge
Cache pour Régulation
Doigt de gant avec...
Rail de montage inférieur
Goujon 12 X 70 X 64,5
Logo Vitoplex 300 -...
Manchon pour flexible
Baguette d'angle VR1...
Rail de montage supérieur
Tube plastique 800 mm
Matelas Isolant D = 200