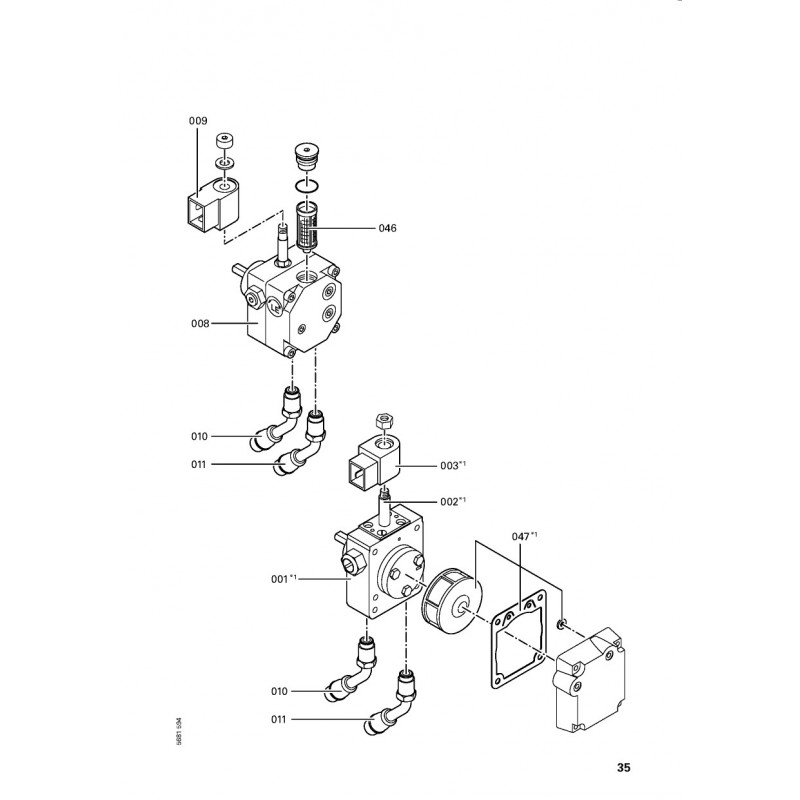
Bobine électrovanne...
Pompe fioul Suntec Ale 35C...
Boîtier de contrôle fioul...
Pompe fioul BFP 21 L3 LE...
Mamelon pompe fioul
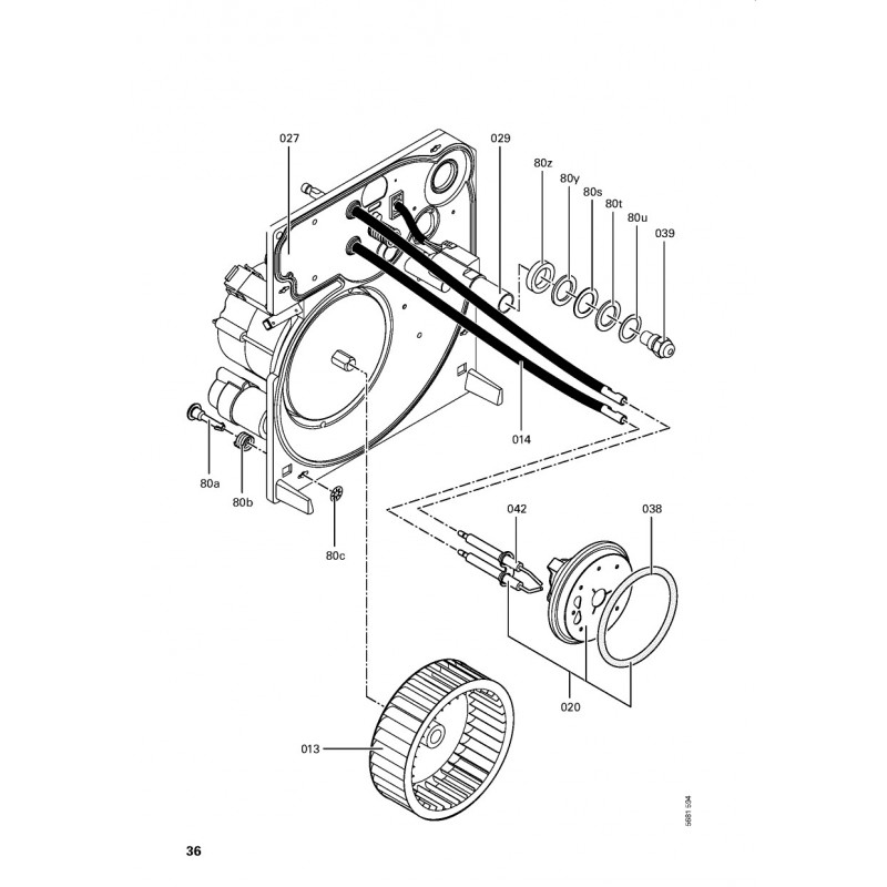
Transfo d'allumage...
Sachet de rivets pop
Flexible fioul DN6 1200 mm...
Conduite fioul DN6 1200 mm...
Electro-aimant
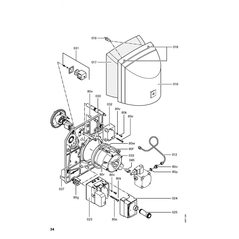
Fixation capot brûleur
Fermeture capot brûleur
Rallonge bouton de...
Dispositif de mélange 27kW...
Plastron emboîtable
Pot de brûleur VHG Gr.1
Bride de brûleur Vhg
Conduite de fioul
Noyau électrovanne
Aspiration d'air Gr.1
Aspiration d'air Gr.2
Carter de Brûleur Gr.1 Vhg
Chassis Porte Brûleur Vhg...
Colis acc. brûleur Vitoflame
Matelas réfractaire avec...